产品分类

联系我们

启东市昶鑫环保设备有限公司
地址:启东市经济开发区凯旋路338号
电话:0513-83223318
传真:0513-83252058
联系人:姚亚鑫
手机:13606286423
http://www.jscxhb.com
E-mail:chxssb@126.com

 

JD-DDG大型电机配套隔声消声装置

  本系列隔声消声装置系采用隔声加消声的方法,将电机原有薄钢板防护罩去掉,换上新设计的隔声罩,在隔声罩的两侧各加设2个消声器,消声量约为20dB(A)。

一、选用表

隔声消声装置型号
隔声罩外形尺寸
进气消声器外形尺寸
适用电机
消声量
长L
宽B
高H
长l
宽b
高h
型 号
功率(kW)
[dB(A)]
DDG-1
1910
1410
1620
360
500
850
TK1000-2/990
1000
20
DDG-2
2000
1410
1620
384
500
1050
TK1600-2/990
1250
20
DDG-3
2030
1410
1620
410
500
1150
TK1600-2/990
1600
20
DDG-4
2185
1830
2000
440
500
1250
TK2000-2/1180
2000
20
DDG-5
2365
1830
2000
446
500
1450
TK2500-2/1180
2500
20
DDG-6
2485
1830
2000
512
500
1550
TK3200-2/1180
3200
20
 
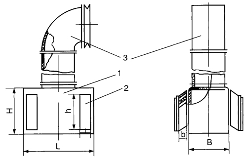
二、外形示意图

1、隔声罩 2、进气消声器 3、排气消声器

JD-DG中型电机配套减噪器

  本系列减噪系按JS电机(5个机座号)及其派生系列而设计的,采用隔声加消声的方法控制其噪声。该减噪器由三部分组成,中间为排热风的隔声腔,两侧为进冷风的隔声腔,在其上部各装一个消声器,消声量约为20dB(A)。

一、选用表

减噪器型号
隔声装置尺寸
消声器尺寸(mm)
消声量
长L1
宽B1
高H1
长l1
宽b1
高h1
[dB(A)]
DG1-1
1780
520
DG1-2
1860
1380
1070
600
940
600
20
DG1-3
1910
600
DG2-1
1880
1460
1205
600
1060
600
20
DG2-2
1980
600
DG3-1
2020
760
DG3-2
2120
1590
1350
760
1190
600
20
DG3-3
2220
840
DG4-1
2250
760
DG4-2
2350
1740
1470
840
1340
600
20
DG4-3
2450
920
DG5-1
2240
840
DG5-2
2450
1920
1635
1000
1520
600
20
DG5-3
2550
1080
 
二、外形示意图
 
 
 



 

 

地址:启东市经济开发区凯旋路338号
电话:0513-83223318 传真:0513-83252058
手机:13606286423 联系人:姚亚鑫
http://www.jscxhb.com
E-mail:chxssb@126.com